炒股就看金麒麟分析师研报,权威,专业,及时,全面,助您挖掘潜力主题机会!
3月15日晚间消息,央视315晚会曝光漂白鸡爪问题,乖媳妇鸡爪关联公司重庆市曾巧食品有限公司被点名。
央视报道称,在重庆市曾巧食品有限公司,记者同样发现了大量回收的蓝色包装桶,桶身标签赫然标注着过氧化氢,即俗称的双氧水,含量高达35%,生产厂家是四川眉山市的金山制药有限公司。
报道提到,为了核实真相,记者以普通工人身份应聘入职,在无健康证、无体检、无消毒的情况下,顺利进入了这家企业的生产一线。在调查中,企业内部人员亲口证实,这里的鸡爪正是用双氧水进行“漂白”。
天眼查App显示,重庆市曾巧食品有限公司成立于2003年4月,法定代表人为曾巧,注册资本500万人民币,经营范围包括生产、销售肉制品,豆制品,蔬菜制品等,由高家琴、曾巧共同持股。
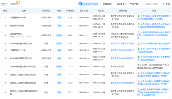
《BUG》栏目注意到,近年来,重庆市曾巧食品有限公司曾多次获得国家级、省级及市级的多个荣誉,包括农业产业化重点龙头企业、高新技术企业、专精特新中小企业等。




发表评论
2026-03-15 23:47:09回复
2026-03-15 22:46:15回复
2026-03-16 04:26:48回复